A BMW desenvolveu um parafuso especial, com cabeça no formato do logotipo da marca, que só pode ser removido com ferramentas exclusivas.

O site CarBuzz criticou a patente da BMW, dizendo que ela dificulta o trabalho de mecânicos independentes e favorece concessionárias.
A BMW pretende usar os parafusos em locais visíveis dos veículos para manter a integridade e garantir reparos conforme os padrões exigidos
Ao que tudo indica, a montadora alemã BMW está experimentando uma “peculiaridade de design” que pode não apenas impedir adulterações e roubos, mas também complicar reparos e consertos em geral, argumentam alguns mecânicos e entusiastas do “faça você mesmo” na internet.
O Autoblog publicou recentemente o que parecem serpatentes de design legítimas registradas pela marca alemãpara umnovo design de parafuso exclusivo.A publicação atéincluiu ilustrações digitais dos referidos designspara uma melhor visualização.
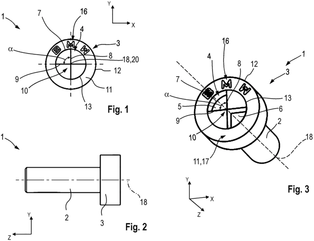
Uma das novidades aqui é que o parafuso apresenta uma cabeça personalizada, modelada a partir do emblema icônico da marca.
fonte: patentsocope
A patente registrada pela BMW detalhou quatro tipos de parafusos, todos apresentando o icônico emblema da marca em suas respectivas cabeças.
A patente descreve quatro tipos diferentes de cabeçotes: soquete, plano e arredondado. Cada um tem o formato do emblema da BMW, dividido em quatro quadrantes. Duas das seções são rebaixadas, enquanto as restantes são planas ou elevadas.
Este último aspecto ajuda a moldar um formato que provavelmente exigiria uma ferramenta feita sob medida. Esse último fato certamente irritará muitos mecânicos e entusiastas do “faça você mesmo”.
Para montadoras como a BMW, esse tipo especial de fixador oferece diversas vantagens em termos de segurança. Em primeiro lugar, a necessidade de uma ferramenta específica deve impedir a adulteração de peças específicas, provavelmente para fins de garantia. Em segundo lugar, também deve impedir o roubo de peças específicas.
Isso, naturalmente, se apresenta como uma faca de dois gumes, já que a necessidade de ferramentas especiais – provavelmente com distribuição controlada (ou seja, por meio de revendedores e centros de serviço autorizados ) – limita o que aqueles que não as possuem podem fazer.
Certamente, esses parafusos especiais exigirão ferramentas especiais feitas sob medida, o que irrita muitos mecânicos e entusiastas do “faça você mesmo”, já que as ferramentas comuns não servem. (Imagens: Autoblog)
Isso é especialmente verdadeiro para mecânicos em geral e proprietários habilidosos com kits de ferramentas padrão , já que padrões de parafusos incomuns significam que um conjunto de ferramentas comum não conseguirá encaixar ou fixar.
Em outras palavras, quem desejar acessar peças fixadas e presas com esses parafusos especiais precisará de ferramentas ou equipamentos específicos da BMW.
O uso de parafusos e fixadores especiais não é novidade e permite que as montadoras prendam peças essenciais para evitar adulteração (para fins de garantia) ou roubo.
Embora a finalidade desses parafusos especiais seja clara, ainda não está claro se a BMW realmente os adotará em seus próximos modelos de produção. Vale lembrar que as montadoras costumam registrar inúmeras patentes desse tipo, mas raramente as implementam.
Novo design patenteado de parafuso exclusivo da BMW pode complicar reparos futuros.
A nova criação da BMW ‘complica reparos e força visitas a concessionárias’, de acordo com o site. Para retirar o parafuso, a chave que encaixa nele precisa ser moldada para se ajustar ao desenho da hélice azul e branca.
A ideia da BMW é usar os parafusos em lugares onde os fixadores normalmente ficam visíveis, como pontos de fixação de bancos ou conexões entre o cockpit e a estrutura da carroceria. A meta principal é proteger a integridade dos componentes e garantir a conformidade dos reparos com os padrões exigidos










